你提供的照片可能用于改善必应图片处理服务。
隐私政策
|
使用条款
无法使用此链接。检查链接是否以 "http://" 或 "https://" 开头,然后重试。
无法处理此搜索。请尝试其他图像或关键字。
试用视觉搜索
使用图像搜索、识别对象和文本、翻译或解决问题
将一个或多个图像拖到此处,
上传图像
或
打开相机
将图像放到此处以开始搜索
要使用可视化搜索,请在浏览器中启用相机
English
全部
搜索
图片
灵感
创建
集合
视频
地图
资讯
更多
购物
航班
旅游
笔记本
自动播放所有 GIF
在这里更改自动播放及其他图像设置
自动播放所有 GIF
拨动开关以打开
自动播放 GIF
图片尺寸
全部
小
中
大
特大
至少... *
自定义宽度
x
自定义高度
像素
请为宽度和高度输入一个数字
颜色
全部
仅限颜色
黑白
类型
全部
照片
剪贴画
素描
动画 GIF
透明
版式
全部
方形
横版
高
人物
全部
仅脸部
半身像
日期
全部
过去 24 小时
过去一周
过去一个月
去年
授权
全部
所有创作共用
公共领域
免费分享和使用
在商业上免费分享和使用
免费修改、分享和使用
在商业上免费修改、分享和使用
详细了解
清除筛选条件
安全搜索:
中等
严格
中等(默认)
关闭
筛选器
939×624
Weebly
CAS Matrix - DeAnna CAS
1200×600
github.com
GitHub - vagifaliyev/Matrix-Solver: Matrix/Linear Solver Library for ...
717×546
github.com
GitHub - Adri6336/matrix-system-of-equations-solver: A tool to s…
803×602
tinspireapps.com
Matrix Solver for the TiNspire : Solve any Matrix Equation usin…
768×594
scribd.com
CAS Completion Matrix Overview | PDF
1200×630
apps.apple.com
Matrix Solver Step by Step on the App Store
911×591
www.reddit.com
CAS App Matrix problem : r/geogebra
640×360
chipwired.com
CAS vs. Non-CAS Calculators: 7 Differences Explained – Chip Wired
677×671
www.reddit.com
CAS Numeric Evaluation by matrix …
832×842
open8gu.com
什么是CAS?有哪些使用场景? | 大话面试
440×432
researchgate.net
The matrix L for G-CAS case when N = 128, …
960×720
hacfeed.weebly.com
Inverse matrix symbolic calculator - hacfeed
1494×352
chegg.com
Should be solved with a CAS such as maple, or matlab. | Chegg.com
1280×720
fity.club
Matrix Calculator
1280×668
tinspireapps.com
CAS CALCULATOR - 100% FREE
480×330
tessshebaylo.com
Solution Of Matrix Equation Calculator - Tessshebaylo
847×877
www.reddit.com
Cas Calculator : r/geogebra
1280×720
ar.inspiredpencil.com
3x4 Matrix Calculator
320×240
mathclasscalculator.com
What is a CAS calculator? - Math Class Calculator
320×240
mathclasscalculator.com
What is a CAS calculator? - Math Class Calculator
1000×762
www.reddit.com
I need help with CAS calculators : r/calculators
1280×720
storage.googleapis.com
Graphing Calculator Augmented Matrix at Becky Stever blog
403×297
www.reddit.com
Problem in the cas calculator : r/geogebra
1366×976
houseofmath.com
How to Use the CAS Calculator in GeoGebra
1200×1200
tolhoq.blogspot.com
Matrix Calculator With Steps Online - TOLHOQ
824×376
www.reddit.com
Hey. I was using my CAS to solve a problem and encountered this oddity ...
1800×1200
eng.libretexts.org
5.3: Classifying CAs - Engineering LibreTexts
600×520
zhuanlan.zhihu.com
CAS号查询|化学CAS号批量自动查询(GC-MS数据自动 …
600×90
zhuanlan.zhihu.com
在GeoGebra中利用CAS解线性方程组 - 知乎
1192×1050
zhuanlan.zhihu.com
在GeoGebra中利用CAS解线性方程组 - …
764×584
zhuanlan.zhihu.com
你对CAS号及其背后的机构了解多少? - 知乎
480×853
ddooo.com
cas计算器app下载-geogebr…
993×601
zhuanlan.zhihu.com
怎么挑选Cas家族蛋白?本文让你轻松搞懂Cas13a、Cas12a/Cas12…
1041×635
cnblogs.com
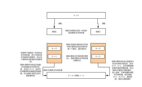
CAS算法 - 源码复兴号 - 博客园
256×256
3673.com
geogebra cas计算器下载-cas calculator(CAS 计算 …
某些结果已被隐藏,因为你可能无法访问这些结果。
显示无法访问的结果
查看更多图片
为你推荐的项目
广告
报告不当内容
请选择下列任一选项。
无关
低俗内容
成人
儿童性侵犯
反馈